| Linea | Frese Attacco Manicotto |
|---|---|
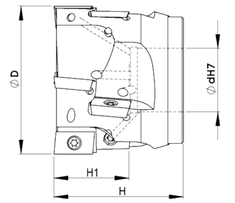
| Tipo Inserto | AP..1604 |
| Ø D | 80 |
| H | 60 |
| H1 | 44 |
| Ø dH7 | 32 |
| Z | 5 |
| N° Inserti totali | 15 |
| Vite Inserto | VM4010 |
| Intercambiabilità | ISO |
V90RAP16080MW0515
Frese con attacco a manicotto multielica con taglio costante per lavorazioni in contornitura o esecuzione cave dal pieno provviste di fori per la lubrificazione
| Prodotto | Categorie |
|---|---|
| VM4010 | Viti |
| APKT 1604 PDTR | Inserti |
| APEX 1604 PDFR VA | Inserti |
| APHT 1604 – ALU | Inserti |
| APGT 1604 PDFR – ALU | Inserti |
| APKT 160408 PDER X1 | Inserti |
| APKT 160408 PDSR -X1 | Inserti |
| APKT 1604 V2 | Inserti |



